一、前言:解决现代嵌入式系统的设计挑战
在高度集成的系统设计中(如:AI服务器、自动化工业设备、智能家居控制),开发者常常面临两大棘手问题:
- I/O资源不足处理器(MCU/FPGA)的 GPIO 引脚数量不足。
- I2C地址冲突多个相同地址的传感器无法在同一条总线上运行。
Nexperia(安世半导体)推出的NCA9554、NCA9555 和 NCA9548A系列产品凭借其卓越的稳定性、极低的功耗以及创新的封装技术,为这些难题提供了完美的硬件解决方案。
二、产品深度剖析
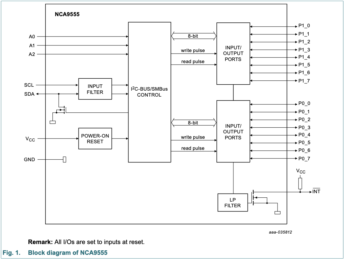
1. I/O扩展专家:NCA9554(8位)和NCA9555(16位)
当系统需要控制LED、读取按键或检测系统报警,而主控端资源已达到上限时,NCA9554和NCA9555是最直接的扩展方案。
- 关键功能:通过两根 I2C 线(SCL/SDA),可以扩展出 8 路或 16 路通用的 I/O。
- 技术亮点:
- 中断输出(INT)当外设状态发生变化时,能够实时通知主控端,减少系统轮询的负担。
- 宽电压工作:支持1.65V至5.5V,适应各种电平环境。
- 极低待机电流:优化电池续航能力,适用于手持设备。


方框图来自数据手册
2. 总线冲突救星:NCA9548A八通道I2C切换器(Switch)
当系统中存在多个具有相同地址的 I2C 设备(例如:8 个地址相同的温度传感器)时,NCA9548 就像“交通警察”一样发挥作用。
- 关键功能:1对8双向切换。主控端可以通过指令选择“开启”特定的下游通道,与该通道的设备进行通信。
- 技术亮点:
- 地址隔离:解决同一总线上同地址设备的冲突问题。
- 电平转换:支持不同电压域(例如 3.3V主控对1.8V从设备)之间的通信。
- 硬件重置(RESET):配备独立复位引脚,确保系统在异常情况下能够快速恢复 I2C 状态。

方框图来自数据手册
三、为什么选择Nexperia?
- 卓越可靠性:针对工业和车规环境设计,具备强大的抗干扰能力。
- 极小化封装:提供从传统的TSSOP到超小型XQFN/HXSON封装,最多可节省40%的PCB空间。
- 供应稳定性:Nexperia拥有自有晶圆厂和封装生产线,提供业界领先的产能保障,确保大规模量产的交付周期。
四、产品规格对照表
产品型号 | 功能分类 | 通道/位数 | 关键特性 | 典型应用 |
NCA9554 | I2C I/O扩展器 | 8位 | 中断输出、低功耗 | 键盘扫描、状态指示 |
NCA9555 | I2C I/O扩展器 | 16位 | 高密度、极性反转 | 系统监控、服务器面板 |
NCA9548A | I2C多路复用器 | 8通道 | 解决地址冲突、电平转换 | 多传感器管理、摄像头模块 |
五、结论与行动建议
Nexperia NCA95xx系列为您的系统设计提供了灵活性和可靠性的双重保障。无论您需要更多的GPIO,还是复杂的总线管理,这一系列产品都是您的首选。
📩 立即联系我们的技术团队:
- 获取数据表
内容: https://assets.nexperia.com/documents/data-sheet/NCA9554.pdf
内容: https://assets.nexperia.com/documents/data-sheet/NCA9555.pdf 语言: zh-cn
内容: https://assets.nexperia.com/documents/data-sheet/NCA9548A.pdf 语言: zh-cn
- 申请样品测试(EVB可用)
访问官网:www.nexperia.com
注:本文件为推广方案,详细电性参数请以 Nexperia 官方数据手册为准。
