世平安森美 1200V800A IGBT module NXH800H120L7QDSG 介紹
NXH800H120L7QDSG 介紹:
NXH800H120L7QDSG 是一款額定電壓1200V、額定電流800A的半橋IGBT功率模組。其整合了第七代的場阻溝槽式IGBT和第七代二極體,可降低導通損耗和開關損耗,可幫助設計人員實現高效率和高可靠性。
所謂的場阻溝槽式IGBT技術是結合了蝕刻溝槽式閘極結構和特殊的低摻雜「場阻」層,與平面非穿通型IGBT相比,明顯降低了導通損耗(VCEsat)和開關能量(Eoff),該技術能夠在更薄的晶圓上實現提高熱傳導效率並降低寄生電感等特性,非常適合應用於電動車充電、太陽能逆變器和馬達驅動等高功率產品的電源轉換。
該技術的優勢是:
擁有更低的損耗-由於飽和電壓低且開關速度快,總損耗顯著降低。
功率密度-晶片厚度減小,熱阻降低,提高了能承載的功率。
模組規格特性:
1200V、800A 二合一半橋配置IGBT功率模組
額定電流800A,暫態峰值電流1600A(1ms 25°C)
短路耐受時間8us,非重複性(VGE ≤ 15 V, VDC+ ≤ 800 V)
第7代場阻溝槽式IGBT和第7代二極體
內建NTC熱敏電阻
隔離式底板
驅動控制腳採用可焊接引腳
低電感佈局
內部功能方塊圖及外觀圖:

圖片引用onsemi原廠規格書資訊:(NXH800H120L7QDSG - Half-Bridge IGBT Module, Qdual3 1200 V, 800 A)
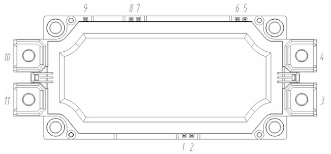
IC腳位:

圖片引用onsemi原廠規格書資訊:(NXH800H120L7QDSG - Half-Bridge IGBT Module, Qdual3 1200 V, 800 A)
Pin 1: 下橋IGBT Gate pin
Pin 2: 下橋IGBT Emitter pin
Pin 3: DC Bus-
Pin 4: DC Bus+
Pin 5: Thermistor connection 2
Pin 6: Thermistor connection 1
Pin 7: 上橋IGBT Gate pin
Pin 8: 上橋IGBT Emitter pin
Pin 9: 上橋IGBT Collector sensing(偵測上橋IGBT飽和用途)
Pin 10/11: OUT(or SW / Center point of Half Bridge)
建議應用基本方塊圖:

基於大功率應用非常在乎最小Dead time以提高有效週期寛度,故會建議採用高抗噪能力、低傳遞延遲、帶IGBT飽和偵測功能同時符合5KV電氣隔離(符合 UL1577要求)的數位隔離Gate driver NCD57100,另因數位隔離驅動器PWN信號腳位通常是接收5V邏輯準位,所以建議在Gate driver之前增加二路史密特觸發緩衝器,以確保能提供穩定的邏輯準位PWM信號同時達到互鎖功能以避免同時開啟造成上下橋直通的風險,再者是,由於可承載功率大零件材積也大,其對應的Ciss與Qg值是一盤離散元件的數十倍,故需要在Gate diver後端增加圖騰柱驅動線路才能順利且快速的開啟或關閉模組內各別的IGBT。
展示板及簡易測試:

展示板測試條件:
一次測供電5V,以無穩振盪器提供交錯PWM信號給上下橋Gate driver輸入端。
二次測上下橋各提供獨立的24V電源,搭配電阻+Zener提供+15/-9V給驅動迴路。
採用四路示波器,其中有二路是使用隔離探棒,負責量測二次側信號。

圖 800A1 各路信號:
CH1-黃PWN-H CH2-綠PWM-L CH3-藍Driver-H CH4-粉Driver-L

圖 800A5 各路信號:
CH1-黃PWN-H CH2-綠PWM-L CH3-藍Driver-H CH4-粉SW pin
展示版測試必要的設備:
1組5V隔離電源。
2組24V隔離電源。
1組DC Bus 電源,本次測試是使用15V隔離電源。
1組雙路PWM信號產生器,本次測試是使用無穩振盪器配合反向電路產三對稱PWM信號。
1台四路示波器,需有二路是使用隔離探捧。
1組負載,本次測試是使用最簡易的水泥電阻。
測試程序:
1. 將四組獨立的電源共接在同一帶電源總開關的延長線並確認總開關是關閉狀態。
2. 將四組獨立的電源輸出分別接上一次側(15V),二次側上下橋(24V)及DC BUS。
3. 依測試位置要求接上對應的測試探棒。
4. 將四組獨立電源的總電源開關開啟。
5. 調整示波器並儲存所要測量波形。
6. 關閉獨立電源的總電源開關,回到步驟3,移動探捧至下一需測量位置。
7. 測試結束。
結語:
NXH800H120L7QDSG 是一款新一代製程的半橋IGBT模組,建議使用在輸入電源範圍介於AC220V~AC560V,負載功率介於100KW~500KW的應用場合,額定最大承載電流800A(TC = 90°C),暫態峰值電流高達1600A(1ms 25°C)應用可含蓋暫態電流動輒兩倍的馬達類產品,內建NTC熱敏電阻更能直接反饋模組內IGBT真實的溫度,驅動控制腳採用可焊接引腳有別於多數模組採用鎖螺絲的設計,沒有因長時間震動造成鬆脫控而產生制信號異常的不必要的現象,整體而言,所採用的設計均己考慮到需避免使用者會面對的種種風險而設計,絕對是半橋、全橋、三相橋大功率電源轉換拓撲最佳的選擇。
